-32%
        
        Limit Indikatorstativ Centrallåsning
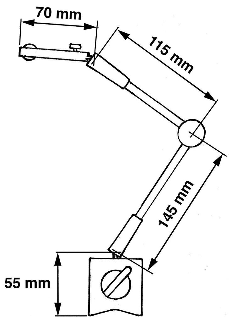
            Med fininställning i övre hållare. Hållare med hål för indikatorklocka och laxstjärtspår för vippindikator. Centrallåsning med ett vred för botten-, mitt- och övre led.
                            
Läs mer
                    
- Kvalitetsverktyg
- Fraktfritt över 999 SEK*
- En järnhandel för alla
- Butik i Göteborg
Med fininställning i övre hållare. Hållare med hål för indikatorklocka och laxstjärtspår för vippindikator. Centrallåsning med ett vred för botten-, mitt- och övre led.
- Magnetfot med V-spår i botten. 
- Levereras utan indikatorklocka.
Tekniska data
Fästhålets diameter: 8 mm
Magnetfotens bredd: 50 mm
Magnetfotens längd: 55 mm
Magnetens dragkraft: 80 kg
Höjd max: 330 mm
Mått A: 70 mm
Mått B: 115 mm
Mått D: 55 mm
Nettovikt: 1.9 kg
| Produkttyp | Indikatorklocka | 
 
                 
                